Daewoo Sens: Маслоотражательные колпачки. Манжета распределительного вала
1. После длительной эксплуатации двигателя маслоотражательные колпачки и манжета требуют замены.
Течь из-под манжеты распределительного вала определяется по подтекам на торце головки цилиндров. В случае разборки головки цилиндров с малым пробегом, но требующим снятия клапанов или распределительного вала, маслоотражательные колпачки и манжету тщательно осмотреть (рис. 2.11.1).

Рис. 2.21.1. Съемник маслоотражательного колпачка клапана: 1 - вороток; 2
- держатель; 3 - цанговый зажим; 4 - упорная втулка; 5 - маслоотражательный колпачок.
2. При наличии на рабочей кромке даже незначительных трещин, надрывов, следов отслоения от арматуры, затвердевания или деформации колпачки или манжету заменить.
3. Маслоотражательные колпачки клапана рекомендуется снимать съемником, а запрессовывать на направляющую клапана оправкой М9840-885 (рис. 2.11.2).

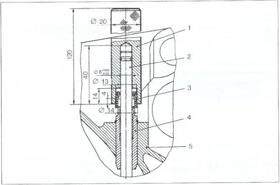
Рис. 2.21.2. Оправка для запрессовки маслоотражательного колпачка клапана:
1 - оправка М9840-885; 2 - клапан или направляющий стержень; 3 — маслоотражательный
колпачок; 4 - направляющая клапана; 5 - головка цилиндров.
4. При запрессовке манжеты распределительного вала в головку цилиндров используйте оправку М9840-716 (рис. 2.11.3).

Рис. 2.21.3. Запрессовка манжеты распределительного вала в головку цилиндров:
1 - оправка М9840-716; 2 - манжета; 3 - головка цилиндров
5. После запрессовки колпачков и манжеты их рабочие кромки смазать моторным маслом.
Наконечники регулировочных винтов
1. Проверка состояния заключается в проверке отсутствия повышенного износа, трещин,
наличия нормальной (до упора) посадки на регулировочные винты.
2. При наличии изъянов на поверхностях соприкоснов ...
Болты крепления головки цилиндров
1. При многократном использовании болты вытягиваются. Проверить длину болта от
головки и, если эта длина больше 98,8 мм, болтзаменить (длина нового болта 98+0,5
мм). ...
Другое на сайте:
Приводные валы - Общая информация
Конструкция приводного вала 1 — Наружный ШРУС 2 — Стопорное кольцо 3 — Бандажная
лента крепления защитного чехла 4 — Защитный чехол 5 — Приводной вал 6 — Защитный
чехол 7 — Крестовина триподной ...
Замена подшипника ступицы колеса
Для замены подшипника ступицы колеса необходимо: • отсоединить карданную передачу
привода от ступицы колеса (см. 5.2); • выкрутив винты крепления, снять тормозной
диск со ступицы;
Рис. 5.16.
• ...
Регулировка рулевого колеса
РЕГУЛИРОВКА
РУЛЕВОГО КОЛЕСА
ПРЕДУПРЕЖДЕНИЕ: При движении
автомобиля водитель должен сохранять полный контроль над рулевым колесом.
• Запрещается регулировать положение рулевого колеса при дв ...
