Daewoo Sens: Оси коромысел и коромысла
1. Снять крышку головки блока цилиндров (п. 2.5).
2. Снять верхний кожух плоскозубчатого ремня.
3. Ослабить гайки (рис. 2.8.2) регулировочных винтов, вывернуть регулировочные винты на 7 - 8 мм и снять с них наконечники.

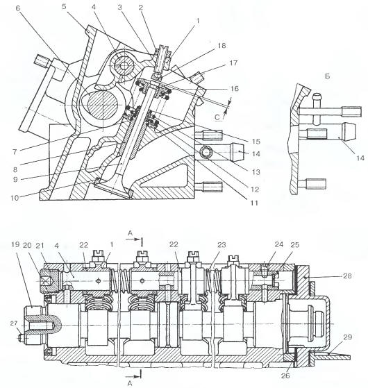
Рис. 2.8.2. Головка цилиндров и схема регулировки зазоров в механизме привода
клапанов: 1 — коромысло; 2 — гайка; 3 — регулировочный винт; 4 — ось коромьюел;
5 — головка цилиндров; 6 — кулачок распределительного вала; 7 - стопорное кольцо;
8 — втулка направляющая; 9 — клапан; 10 - седло клапана; 11 - шайба опорная внутренней
и наружной пружин; 12, 13 - пружины клапана наружная и внутренняя; 14 - патрубок;
15 - маслоотражательный колпачок клапана; 16 - тарелка пружин клапана; 17 - сухари
клапана; 18 - наконечник регулировочного винта коромысла; 19 - распределительный
вал; 20 - манжета; 21 - пробка; 22 - шайба упорная; 23 - пружина оси коромысел;
24 — винт стопорный; 25 - заглушка масляного канала; 26 - прокладка; 27 - штифт;
28 - задняя крышка головки цилиндров; 29 - кронштейн модуля зажигания; Б - фрагменты
головки цилиндров двигателя; С - зазор для клапанов (см. табл. 2.23.1).
4. Прокрутить коленчатый вал до совпадения одного из отверстий ведомого шкива распределительного вала с пробкой на головке цилиндров.
5. Перед разборкой пометить коромысла.
Ключом с квадратом 8x8 вывернуть пробку с головки цилиндров, отвернуть стопорный винт оси коромысел и мягкой выколоткой вытолкнуть ось коромысел в сторону маховика.
6. промыть и протереть детали.
Проверить чистоту рабочих поверхностей коромысел, незначительные натиры зачистить и отполировать.
Отверстия подвода масла на оси и коромыслах прочистить и продуть сжатым воздухом.
7. Проверить посадку коромысел на оси и провести замер диаметра отверстия в коромысле и диаметра оси на участках качания коромысел (допустимые значения - п. 2.59).
8. Проверить регулировочные винты на отсутствие повышенного износа сферической опорной поверхности, состояния резьбы на винтах и в гайках регулировочных винтов.
При повреждении резьбы или смятых гранях гайки, изношенные детали заменить.
9. Проверить плотность посадки торцевой заглушки валика коромысел.
Если торцевая заглушка посажена неплотно, обжать ее ударами молотка по оправке.
10. Установку оси коромысел провести в обратной последовательности.
Смазать ось коромысел моторным маслом, установить ее в головку цилиндров, сориентировав так, чтобы паз на оси находился со стороны маховика, а отверстия диаметром 4 мм для подвода смазки к шейкам распределительного вала - внизу. Одновременно с осью установить коромысла, шайбы, пружины.
Газораспределительный механизм
Величина фаз обеспечивается при зазорах между торцами стержней клапанов и наконечниками
регулировочных винтов (0,45 ± 0,015) мм.
Отклонение фаз газораспределения более ± 5" допускается при усл ...
Детали газораспределительного механизма
Рис. 2.8.3. Детали газораспределительного механизма: 1 - распределительный
вал; 2 - шкив ведущий; 3 — шкив ведомый; 4 — штифт установочный шкива распределительного
вала; 5, 21 - болты; 6 - ремен ...
Другое на сайте:
Подбор вкладышей коренных и шатунных подшипников коленчатого вала
ПОРЯДОК ВЫПОЛНЕНИЯ 1. В первую очередь необходимо определить размерную группу
коренных и шатунных шеек коленчатого вала, т.е. выяснить имеют ли они стандартный
размер, либо подвергались проточке. ...
Вторичный вал коробки передач - Разборка
ПОДШИПНИК И ШЕСТЕРНЯ 4-ОЙ ПЕРЕДАЧИ
ПОРЯДОК ВЫПОЛНЕНИЯ
Используя пресс и специальное приспособление OK201 172 008 снимите шестерню
4-ой передачи.
ШЕСТЕРНИ 2-ОЙ И 3-ЕЙ ПЕРЕДАЧ
ПОРЯДОК ВЫ ...
Электронная система управления зажиганием (и впрыском) бензиновых двигателей
- Общая информация, описание принципов функционирования и меры предосторожности
Общая информация
Система зажигания бензинового двигателя интегрирована с системой впрыска топлива
и управляется единым блоком электронного управления ECM (см. Главу Системы питания,
выпуска и ...
