Kia Rio: Поршни и шатуны

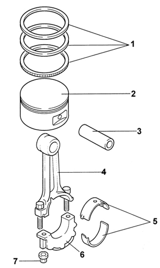
Поршень и шатун
1 – поршневое кольцо;
2 – поршень;
3 – поршневой палец;
4 – шатун;
5 – шатунные вкладыши;
6 – крышка шатуна;
7 – гайка, 29–34 Н•м
Распределительные валы - Установка
ПОРЯДОК ВЫПОЛНЕНИЯ
1. Установите гидравлические компенсаторы зазора клапанов.
2. Смажьте распределительные валы чистым моторным маслом и установите их в
головку блока цилиндров.
3. Установите ...
Поршни и шатуны - Снятие
Снятие поршней с шатунами необходимо проводить на двигателе, с которого снята
головка блока цилиндров и масляный поддон. Проверьте отсутствие ступеньки и
нагара в верхней части каждого цилиндра.
...
Другое на сайте:
Вторичный вал коробки передач - Разборка
ПОДШИПНИК И ШЕСТЕРНЯ 4-ОЙ ПЕРЕДАЧИ
ПОРЯДОК ВЫПОЛНЕНИЯ
Используя пресс и специальное приспособление OK201 172 008 снимите шестерню
4-ой передачи.
ШЕСТЕРНИ 2-ОЙ И 3-ЕЙ ПЕРЕДАЧ
ПОРЯДОК ВЫ ...
Подбор вкладышей коренных и шатунных подшипников коленчатого вала
ПОРЯДОК ВЫПОЛНЕНИЯ 1. В первую очередь необходимо определить размерную группу
коренных и шатунных шеек коленчатого вала, т.е. выяснить имеют ли они стандартный
размер, либо подвергались проточке. ...
Электронная система управления зажиганием (и впрыском) бензиновых двигателей
- Общая информация, описание принципов функционирования и меры предосторожности
Общая информация
Система зажигания бензинового двигателя интегрирована с системой впрыска топлива
и управляется единым блоком электронного управления ECM (см. Главу Системы питания,
выпуска и ...
