Kia Rio: Проверка главного реле
ПОРЯДОК ВЫПОЛНЕНИЯ 1. Снимите крышку с главного блока предохранителей и реле.
2. Прижмите палец к главному реле.
3. Проверьте, что при включении зажигания реле щелкает.
4. Проверьте, что при выключении зажигания реле также щелкает.

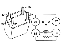
5. Снимите реле и дополнительными проводами подайте напряжение от аккумуляторной батареи к контактам 85 и 86 главного реле.
6. Проверьте, что контакты 87 и 30 главного реле замыкаются при подаче напряжения и размыкаются при отключении напряжения.
7. В противном случае, замените главное реле.
8. Выключите зажигание.
9. Установите реле на блок предохранителей и реле. Закройте блок крышкой.
Датчик положения дроссельной заслонки
Проверка сопротивления
ПОРЯДОК ВЫПОЛНЕНИЯ
1. Отсоедините разъем от датчика положения дроссельной заслонки.
2. Подсоедините омметр между контактами 1 и 2 разъема.
3. Проверьте, что сопроти ...
Проверка реле топливного насоса
ОБЩИЕ СВЕДЕНИЯ
Предупреждение
Топливная система остается под давлением, даже после выключения двигателя,
поэтому перед отсоединением трубопроводов необходимо снять давление в топливной
сист ...
Другое на сайте:
Замена щетки заднего стеклоочистителя
1. Поднимите поводок стеклоочистителя и снимите с него щетку стеклоочистителя
в сборе.
2. Установите новую щетку стеклоочистителя в сборе, вставив центральную часть
(1) в паз (2) в поводке ст ...
Стойка задней подвески
Стойка задней подвески
1 – нижняя опора пружины;
2 – верхняя опора пружины;
3 – кронштейн стойки;
4 – самоконтрящаяся гайка, 40–55 Н•м;
5 – гайка, 20–30 Н•м;
6 – пружина;
7 – стойка задней по ...
Снятие и установка радиатора на моделях без кондиционера
Соединительные колодки датчика включения вентилятора и электродвигателя вентилятора
1 – соединительная колодка датчика включения вентилятора; 2 – соединительная колодка
электродвигателя вентилято ...
