Hyundai Accent: Шатуны

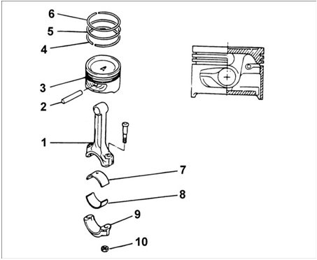
Поршень и шатун
1 – шатун;
2 – поршневой палец;
3 – поршень;
4 – маслосъемное кольцо;
5 – компрессионное кольцо №2;
6 – компрессионное кольцо №1;
7 – верхний вкладыш шатунного подшипника;
8 – нижний вкладыш шатунного подшипника;
9 – крышка шатуна;
10 – гайка, 32–35 Н•м.
Установка
ПОРЯДОК ВЫПОЛНЕНИЯ
1. Перед установкой нанесите тонкий слой чистого моторного масла на все поверхности
скольжения распределительного вала. Установите распределительный вал.
2. Установите крышки ...
Снятие
ПОРЯДОК ВЫПОЛНЕНИЯ
Предупреждение
Держите крышки шатунов с соответствующими шатунами для правильной повторной установки
их в цилиндры двигателя.
1. Отверните гайки и снимите крышку шатуна и н ...
Другое на сайте:
Вторичный вал коробки передач - Разборка
ПОДШИПНИК И ШЕСТЕРНЯ 4-ОЙ ПЕРЕДАЧИ
ПОРЯДОК ВЫПОЛНЕНИЯ
Используя пресс и специальное приспособление OK201 172 008 снимите шестерню
4-ой передачи.
ШЕСТЕРНИ 2-ОЙ И 3-ЕЙ ПЕРЕДАЧ
ПОРЯДОК ВЫ ...
Электронная система управления зажиганием (и впрыском) бензиновых двигателей
- Общая информация, описание принципов функционирования и меры предосторожности
Общая информация
Система зажигания бензинового двигателя интегрирована с системой впрыска топлива
и управляется единым блоком электронного управления ECM (см. Главу Системы питания,
выпуска и ...
Подбор вкладышей коренных и шатунных подшипников коленчатого вала
ПОРЯДОК ВЫПОЛНЕНИЯ 1. В первую очередь необходимо определить размерную группу
коренных и шатунных шеек коленчатого вала, т.е. выяснить имеют ли они стандартный
размер, либо подвергались проточке. ...
