Hyundai Accent: Стойка задней подвески

Стойка задней подвески
1 – нижняя опора пружины;
2 – верхняя опора пружины;
3 – кронштейн стойки;
4 – самоконтрящаяся гайка, 40–55 Н•м;
5 – гайка, 20–30 Н•м;
6 – пружина;
7 – стойка задней подвески;
8 – гайка, 75–90 Н•м.

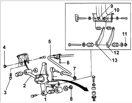
Элементы задней подвески
1 – крепежный элемент задней оси;
2 – нижний продольный рычаг;
3 – болт, 40–50 Н•м;
4 – гайка, 100–120 Н•м;
5 – задний стабилизатор поперечной устойчивости;
6 – болт, 17–26 Н•м;
7 – болт, 35–45 Н•м;
8 – гайка*, 130–150 Н•м;
9 – гайка*, 100–120 Н•м;
10 – гайка*, 88–100 Н•м;
11 – гайка*, 130–150 Н•м;
12 – нижний поперечный рычаг (В) задней подвески;
13 – нижний поперечный рычаг (А) задней подвески.
Предупреждение
* Отмечены гайки, которые необходимо затянуть требуемым моментом только после установки автомобиля на колеса.
Передний стабилизатор поперечной устойчивости
Снятие
ПОРЯДОК ВЫПОЛНЕНИЯ
1. Снимите переднее колесо.
2. Снимите тягу стабилизатора.
3. Снимите кронштейн стабилизатора и втулку
4. Снимите заднюю опору двигателя.
5. Снимите стабилизатор по ...
Снятие
ПОРЯДОК ВЫПОЛНЕНИЯ
1. Сложите заднее сидение.
2. Снимите заднюю крышку с арки колеса.
3. Выверните три верхние гайки крепления задней стойки.
4. Снимите заднее колесо.
5. Отсоедините от задней ...
Другое на сайте:
Диагностика неисправностей подвески и рулевого управления
Прежде чем приступать к проверкам компонентов подвески и рулевого привода
удостоверьтесь, что причиной нарушения не является неправильная накачка шин, установка
шин различного типоразмера или “при ...
Перегрев двигателя
Если датчик температуры охлаждающей жидкости указывает на перегрев двигателя
или вам кажется, что двигатель перегрет, следует остановиться и проверить это.
Отключить кондиционер и дать двигателю по ...
Технические характеристики автомобиля - Система зажигания батарейная, Система
выпуска газов
Система зажигания батарейная.
Номинальное напряжение 12 В, бесконтактная. Управление модулем зажигания (катушками
и встроенным электронным коммутатором) осуществляет контроллер КСУД.
Система выпус ...
